为什么要有交互设计和交互设计能够解决什么问题
之前写过类似的文章,想写的东西太多,结果什么都没讲明白。所以重新写一套入门的教程,分「了解交互设计」、「交互设计的职能范围」、「交互设计的常用方法」……几个章节把我对这门行业的理解和经验做个分享。
下面开始正题(为什么会有交互设计,交互设计能够做什么):
1.成功的互联网产品有哪些要素?
①当你的Boss需要做个产品时,它首先必须是可实现的,这也是为什么核心程序员架构师的待遇普遍较高的原因,因为他们是生产力。那么成功的产品首先要具备–可实现模型。
②产品做出来干什么?“方便用户,让用户玩的爽?”当然不是,产品的终极目标是盈利,你的领导也只关心这个。怎么才能盈利,而且是可持续的盈利。这需要具备第二个要素–业务模型。
③有了实现模型和业务模型产品就成功了吗?以前是,但如今时代不同了,大多数的应用已经不存在技术难题,在这个企业不缺系统,互联网不缺产品而用户不懂技术的时刻,你靠什么赢得用户?强大的运营队伍也只能推动一个峰值,最根本的还是需要产品的第三个要素–使用者模型,使用者模型像水一样,可以成就一个产品,让产品走的更远,也可以毁掉一个优秀业务模型的产品。
2.怎么去完善使用者模型?
①我们先看看传统的开发流程:立项→编程→测试→美化
这样的做出来的产品大都数偏向程序员思维的实现模型或营销策划的业务模型,设计也就是加点图标上些颜色(举个例子:环球资源,大家可以点开下眼界),基本上不存在用户模型的概念。
②为了完善用户模型的问题,现在绝大都数公司的开发流程做出了改进,基本上基于这样的流程:立项→需求分析→设计→编程→测试
这样的流程提高了对需求分析人员和设计师的能力要求,这样的组合必须在实现模型的前提下将业务模型和使用者模型进行一个高度融合。那么问题来了:
假设设计师只具备视觉设计能力
大都数从事互联网产品界面设计的都是美术类出身,对业务的理解程度都要弱于表现需求,基本上是基于产品人员的线框图制作视觉稿,根本无法推动页面结构的优化。那么出来的成品还是偏向于业务需求。遇到综合型的产品经理还好,遇到业务性的产品经理就只能让蠢事继续下去了。举个例子:一些转化率低,跳出率高的页面,产品经理会觉得主要原因是设计稿气氛不够,按钮不够大。而真正的原因是因为设计师基于他的线框制作的视觉稿,目标导向和行为召唤都不够。
假设设计师具备产品策划和视觉表现能力
这样的设计师也大量的存在,但发现与产品的沟通上效率很低,会出现以下的问题:
1.沟通困难; 2.修改成本高;3.无法估算完成时间;4.无法说服对方;5.项目时间不允许。
3.解决方案–UCD理念
为了解决上述问题,UCD的理念开始逐步被大家接受和认可,其中最具有驱动方案的职位–交互设计就是顺着这样的大环境被独立出来。我们可以了解一下各大互联网公司UED的主要组织结构:

相比之前的流程,多出了用户研究和交互设计的职位,而这两个职位对产品概念到实现的过程起着主要的驱动作用。
4.交互设计如何开展和融入开发流程
我们先来梳理一下之前流程上遇到的两个问题:1.使用者模型不完善;2.沟通障碍
使用者模型不完善 ;
如何改善使用者模型,需要经历两个过程:
①业务模型框架化
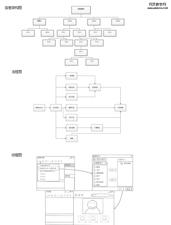
在产品的概念阶段时期,交互设计师需要基关注用户界面和整体结构,这个过程被称作“框架设计”,框架设计就是一种基于用户目标的导航架构和流程设计。这个阶段交互的产出物主要有导航架构图,流程图和低保真线框图。

上述的产出物都需要和产品经理反复确认,以保证业务模型的完整。
②。框架界面化
在定义完功能模块的页面结构和流程后,交互设计师还需要设计规划使用者的操作,这些包括页面元素的主次关系,小部件的处理,元素的组织,界面的引导等等。这个阶段交互设计师需要提供原型demo:

原型demo 是一个过程,主要用于具象的表达业务需求和定义界面模型,是一种目标导向的设计过程。这个过程可以是多次迭代的,是提炼产品质量的主要手段。有了这个过程,我们之前所讲的完善使用者模型才能够得到解决,用户体验设计的理念才可以真正得到实施。
沟通障碍
在产品开发过程中,各个部门的合作与沟通存在着障碍,而产生交互职位之后,这些问题都能够得到解决。
①产品与设计的沟通
在框架阶段,交互设计师利用信息架构图和流程图能够将业务需求确定下来。
在框架界面化阶段,对于用户的操作和界面元素也能够用原型demo表达出来,而且修改成本低,可以快速的迭代。
②产品、设计与开发、测试的沟通
交互设计师利用原型demo做评审测试是个非常高效的方法,这样的方法能够不仅能够直观的表达需求,而且可以提供早期的用户测试,让很多之前无法预见的问题及时的抛出来,原型demo是贯穿概念阶段和实现阶段的最佳表达方式,而这些都对于交互设计提出了更高的要求。
5.小结
写了这么多内容,主要是想说明一下为什么要有交互设计和交互设计能够解决什么问题。如果决策者不能够明白这些道理,UCD的方法很难开展起来;如果从业者不能够明白这些道理,所做的工作也会是盲目和无效的。我想通过这篇文章帮助一些新手明白自己工作的任务和目的,少走些弯路。
下个章节讲「交互设计的职能」,会具体到交互设计的工作是如何展开和结束…